כבל בדיקה שחור - POMONA 3781 , HOOK ~ HOOK , 1.5M POMONA ועוד כבלים ואביזרים לכבלים. לחצו למיפרט טכני מלא. צרו קשר לייעוץ מקצועי: 04-8520233
כבל בדיקה שחור - POMONA 3781 , HOOK ~ HOOK , 1.5M
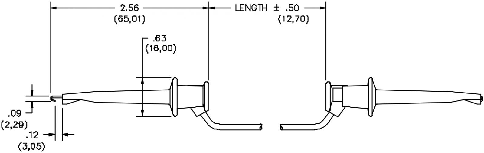
♦ סוג חיבור צד א' : MINIGRABBER HOOK
♦ סוג חיבור צד ב' : MINIGRABBER HOOK
♦ סוג מגעים : נחושת בריליום עם ציפוי זהב
♦ סוג המוליך : 20AWG , PVC INSULATED
♦ טמפרטורה מקסימלית : 102°C
♦ מתח מקסימלי : 30VAC / 60VDC
♦ זרם מגעים מקסימלי : 5A

מוצרים נלווים







