מפסק תרמי עם איפוס ידני - 80 מעלות - NORMALLY CLOSE MULTICOMP ועוד רכיבי אלקטרוניקה. לחצו למיפרט טכני מלא. צרו קשר לייעוץ מקצועי: 04-8520233
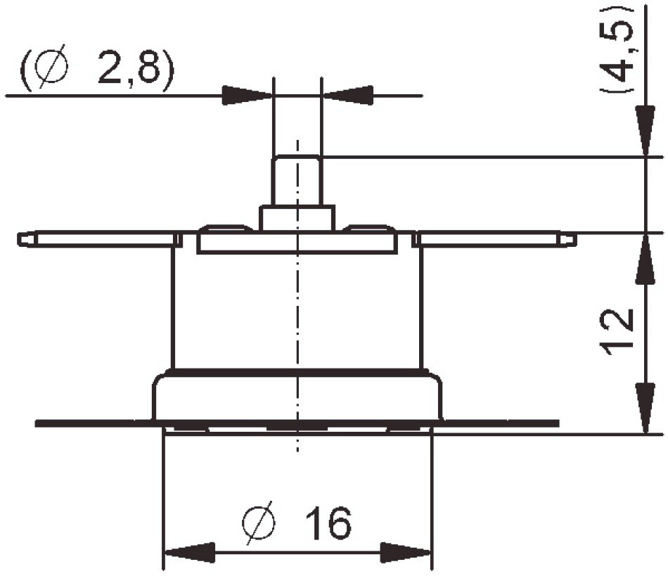
מפסק תרמי עם איפוס ידני - 80 מעלות - NORMALLY CLOSE
♦ מתח מקסימלי : 250VAC
♦ זרם מקסימלי : 10A
.jpg)
מוצרים נלווים







